
(转自:车联新生态)海龟网
6月19日,全国企业破产重整案件信息网显示,哪吒汽车母公司合众新能源汽车股份有限公司新增(2025)浙04破3号案件。公告显示,申请人为上海禹形广告有限公司,被申请人为合众新能源汽车股份有限公司,经办法院为浙江省嘉兴市中级人民法院,管理人机构为浙江子城律师事务所,管理人主要负责人为姚武强。此前,上海禹形广告有限公司已对该公司提出过破产审查。


5月13日海龟网,合众新能源汽车股份有限公司新增(2025)浙04破申3号,合众新能源汽车股份有限公司被上海禹形广告有限公司申请破产重整,经办法院为浙江省嘉兴市中级人民法院。彼时,哪吒汽车方面回应称:“某广告公司向法院申请,这是这家公司应有的权力,目前我们内部没有申请破产相关事宜。不信谣,不传谣。”接近哪吒汽车的消息人士表示:“公司目前确实很困难,高层还在寻求自救。”

本次新增(2025)浙04破3号案件,意味法院已确定破产重整案件管理人。天眼查显示,合众新能源汽车股份有限公司曾用名为合众新能源汽车有限公司,于2014年10月成立,位于浙江省嘉兴市,法定代表人为方运舟,注册资本为28.37亿元,实缴资本为27.63亿元,是一家以从事科技推广和应用服务业为主的企业。股东信息显示,该公司由多家公司共同持股,包括南宁民生新能源产业投资合伙企业(有限合伙)、北京华鼎新动力股权投资基金(有限合伙)、宜春市金合股权投资有限公司等共计50家公司共同持股。

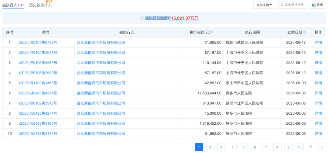
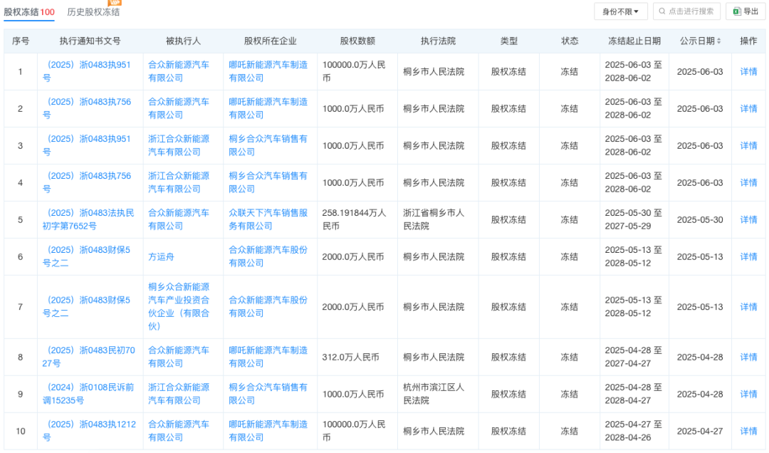
目前合众新能源汽车股份有限公司已是司法缠身。截至发稿,该公司存在107条被执行人信息,被执行总金额为15821.37万元,其中本月新增了4条;100条股权冻结信息;38条限制消费令,涉案总金额为5717.09万元。除此之外,4月25日海龟网,国家税务总局嘉兴市税务局还发布了该公司的3条欠税公告,欠税总金额为215.20598万元,欠税税种包括城镇土地使用税、印花税、房产税,税务机关为桐乡市税务局。



在合众新能源汽车股份有限公司被申请破产重整风波中,哪吒汽车也备受行业关注。哪吒汽车是合众新能源汽车股份有限公司旗下智能电动汽车品牌,于2018年6月发布,曾一度被视为是中国新能源汽车行业的“黑马”,也是最早获得新能源乘用车“双资质”的企业之一。数据显示,2022年哪吒汽车以15.21万辆的年销成绩成为造车新势力黑马,但此后开始走下坡路,2024年销量仅剩6.45万辆,同比下滑49.37%,与巅峰时期的销量相差甚远,如今更是正面临资金链吃紧、债务压身困境。未来哪吒汽车将何去何从,目前仍无从所知,业内人士认为,虽然法院已确定破产重整案件的管理人,但哪吒汽车前景仍充满未知。
海量资讯、精准解读,尽在新浪财经APP
辉煌配资提示:文章来自网络,不代表本站观点。